发布日期:2019年12月10日 信息来源:/ 点击数:
YBK3防爆电机的接线盒位于电动机顶部, 可 4 个方向进线, 适用于橡套电缆(或塑料电缆) 和钢管布线两种结构, 接线盒可分别制成 3 个或 6 个接线端子, 内设一个接地端子, 并按其规格分别制成一个(M8 及以下) 或两个(M10 及以上) 出线口。
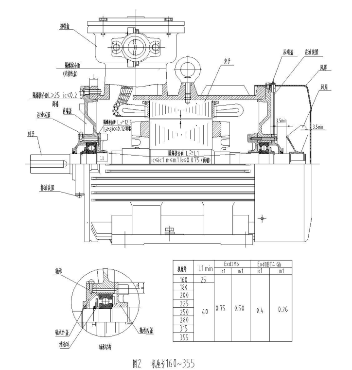
本系列电动机中心高 180~225 机座号在结构上考虑了设置不停机注排油装置的位置, 中心高 250 及以上机座号电动机设置了不停机注排油装置。
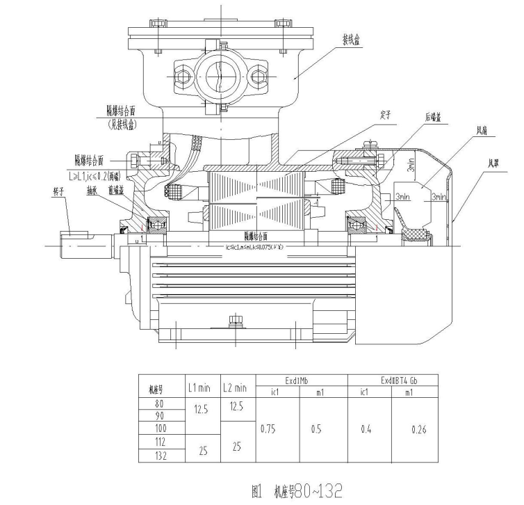
本系列电动机主体结构见图 1.2, 接线盒结构见图 3.4.
YBK3防爆电机 3kW 及以下为 Y 接(380V), 其它功率电压为 380V 时△接、 660V、 1140V时 Y 接。




更多防爆电机产品知识请访问免费欧洲足球比赛高清 官网:m.sdhjq999.com电话:0394-8687286 手机:15518435289 刘经理
相关阅读:
上一篇:防爆电机型号:YB3防爆电机介绍 下一篇:YBK3防爆电机使用范围及使用条件